PTC Cabin Heater

Post Reply
User avatar
Cookie6000
Posts: 247
Joined: Wed May 08, 2019 9:27 am
Location: Wicklow, IRL
Has thanked: 12 times
Been thanked: 33 times
Contact:

PTC Cabin Heater

Post by Cookie6000 »

Hi all

I had asked a question about PC heaters in arber333's Hardware thread but decided to bring it out here so as not to clutter up the broader discussion over there. I was asking if anyone had used the 5kW heater from the Gen 1 Leaf (27143-7269RET) and plumbed it into their existing heater matrix like I have in the Audi 80.
LeafHeater1.PNG
LeafHeater2.PNG
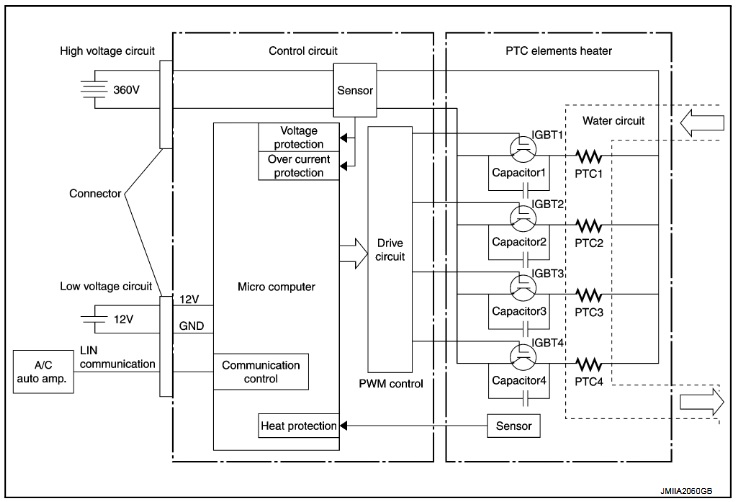
There is a schematic from damian.lo below and I found a bit of info at http://www.nissantechnicianinfo.mobi/ht ... ntrol.html about the control. There is LIN bus comms from the A/C auto amplifier but it's PWM. It's not my area of expertise but, does this make any sense as to the control element and if this is a usable PTC?

The PTC heater provides an internal control circuit and performs LIN communication with A/C auto amplifier. Based on the signals from A/C auto amplifier, the microcomputer inside PTC heater controls the heater output by PWM. When current is applied, it heats up. Upon reaching a certain temperature (Curie temperature) the resistance suddenly increases, limiting the current, and maintaining a constant amount of heating.
LeafPTCwiring.jpg
Any ideas on how you would work giving it PWM signal from an early 90's VAG heater system?
Attachments
heaterPTC.jpg
Home of the #Audi8e - https://twitter.com/FiachraCooke
arber333
Posts: 3795
Joined: Mon Dec 24, 2018 1:37 pm
Location: Slovenia
Has thanked: 166 times
Been thanked: 411 times
Contact:

Re: PTC Cabin Heater

Post by arber333 »

I discussed this with one DIY EV owner from Switzerland. He posted details on his blog.
However his control was over CAN SW bus which i dont know if it is the same as LIN bus.
http://s80ev.blogspot.com/2016/12/the-heat-is-on.html

Maybe it would be best to open the thing and insert a PWM generator that would be controlled by a pot in cabin. That way we could control it by its original interface.

EDIT: Sorry that eberspracher is found on Volt car and it works with SW CAN Which is not the same as LIN.

Also there is some other article of PTC weakness
https://ev-olution.yolasite.com/Nissan- ... -Fault.php
User avatar
Cookie6000
Posts: 247
Joined: Wed May 08, 2019 9:27 am
Location: Wicklow, IRL
Has thanked: 12 times
Been thanked: 33 times
Contact:

Re: PTC Cabin Heater

Post by Cookie6000 »

Thanks arber333

I'll put my eberspracher to the side for now but will play with it at a later stage with PWM generator then open it up to get some knowledge on these.
Home of the #Audi8e - https://twitter.com/FiachraCooke
arber333
Posts: 3795
Joined: Mon Dec 24, 2018 1:37 pm
Location: Slovenia
Has thanked: 166 times
Been thanked: 411 times
Contact:

Re: PTC Cabin Heater

Post by arber333 »

Cookie6000 wrote: Fri Jan 17, 2020 10:04 am Thanks arber333

I'll put my eberspracher to the side for now but will play with it at a later stage with PWM generator then open it up to get some knowledge on these.
I have one Volt heater at home and i will also try to open it and see if controls can run on internal 1kHz PWM.
damian.lo
Posts: 123
Joined: Sat Dec 22, 2018 12:46 pm
Location: Poland

Re: PTC Cabin Heater

Post by damian.lo »

Hello,

Yesterday I found similar docs about our heater. It looks, that it's the same like Titronic CH-HV60, but with other interface - in our situation LIN.
I found on another thread some docs about:
https://www.diyelectriccar.com/forums/s ... 87931.html
I don't know exactly what I can with LIN, but maybe Eberspacher have interface boards for sell? I have to ask them. In meantime, maybe we will look inside to bypass LIN and go directly to PWM (also explained well in manula for Titronic.
Post Reply