Tesla Model 3 HV connector assemblies can be purchased at low cost if you hunt around (look for damaged charge port listings). They're TE HC-STACK series and information is sparse. The Model 3 rapid charge connector is the HC-STAK 35 rated for 400A continuous at 85°C and the motor connector is the HC-STAK 25 rated for 275A continuous at 85°C.
EV car conversion hardware
- Kevin Sharpe
- Posts: 1339
- Joined: Fri Dec 14, 2018 9:24 pm
- Location: Ireland and US
- Been thanked: 10 times
Re: EV car conversion hardware
This is a personal post and I disclaim all responsibility for any loss or damage which any person may suffer from reliance on the information and material in this post or any opinion, conclusion or recommendation in the information and material.
- tom91
- Posts: 2962
- Joined: Fri Mar 01, 2019 9:15 pm
- Location: Bicester, Oxfordshire
- Has thanked: 328 times
- Been thanked: 847 times
Re: EV car conversion hardware
*Admins please let me know if a post like this is out of bounds due to my relation to the business*
Zero-EV has some connectors and cable for reasonable pricing on their site; https://zero-ev.co.uk/product-category/hv-connectors/
The Opel/Vauxhall pump is a good one, currently looking at creating a remote reservoir adaptor to enable the 'hiding' of the pump.
Anyone have a good source for a Ceramic heater to be used in an EV at 300-400V? I am seriously eyeballing a simple blower heater that runs off 240Vac to strip down for its parts.
Zero-EV has some connectors and cable for reasonable pricing on their site; https://zero-ev.co.uk/product-category/hv-connectors/
The Opel/Vauxhall pump is a good one, currently looking at creating a remote reservoir adaptor to enable the 'hiding' of the pump.
Anyone have a good source for a Ceramic heater to be used in an EV at 300-400V? I am seriously eyeballing a simple blower heater that runs off 240Vac to strip down for its parts.
Re: EV car conversion hardware
I bought something like this PTC heater core - https://www.aliexpress.com/item/32815414254.html
I found one that closely matched the size of the heat exchange matrix in my car's existing heat/ventilation system.
There are different sizes, voltages, heat outputs etc.
Specifications:
Rated voltage: 110V
Rated power: 1000W
Size(approx.): 140*102*26mm ( ripple length: about 96mm)
I found one that closely matched the size of the heat exchange matrix in my car's existing heat/ventilation system.
There are different sizes, voltages, heat outputs etc.
Specifications:
Rated voltage: 110V
Rated power: 1000W
Size(approx.): 140*102*26mm ( ripple length: about 96mm)
-< Mazda Eunos JC Cosmo rotary -> EV conversion w/ Lexus GS450H gear >-
- tom91
- Posts: 2962
- Joined: Fri Mar 01, 2019 9:15 pm
- Location: Bicester, Oxfordshire
- Has thanked: 328 times
- Been thanked: 847 times
Re: EV car conversion hardware
I seen those too, however I am not a fan of having those shitty wires. I want to have something like that with spade connectors atleast.
Wonder how they hold up to vibration.
Wonder how they hold up to vibration.
Re: EV car conversion hardware
Thanks for contact with connectors at Zero-EV tom91.
What I saw found locally, are available used PTC heaters from Ford/Opel etc. Problem is only, that usually they require 12V and more amps, but if someaone have dc-dc capable to take it - heater cost almost nothing - about 15 Euro.
What I saw found locally, are available used PTC heaters from Ford/Opel etc. Problem is only, that usually they require 12V and more amps, but if someaone have dc-dc capable to take it - heater cost almost nothing - about 15 Euro.
-
arber333
- Posts: 3795
- Joined: Mon Dec 24, 2018 1:37 pm
- Location: Slovenia
- Has thanked: 166 times
- Been thanked: 411 times
- Contact:
PTC preheater
I got this preheater in scrapyard for 20€!
It is like new. It supposedly belongs to VW Golf mk V.
I tested it and it provides about 800W from 14V source.
It has PTC characteristic so it is self regulated. If you lack the air flow its temperature will raise and with it the resistance.
This means less amp flow and less power untill you provide enough air flow.
It has three power lines each worth about 25A. I tested it on my battery with power supply that controlled voltage drop to 13.6Vdc.
1st line is 25A = 350W
+
2nd line 42A = 600W
+
3rd line 56A = 800W
Strangely each element by itself consumes 25A, but if i connect two of them i only get 42A max and if i use three i get 56A.
Effective dimensions are about 150mm x 200mm x 15mm. That is the "meat" that is fixed into slot, but there is some 30mm overhang and cables that are outside slot.
My intention is to make a slot in front of the liquid heater to fit this so it will be in the airflow.
Then i will use 3x 30A relays and some switches to run it from inside cabin. Only when car will be running however!
It is like new. It supposedly belongs to VW Golf mk V.
I tested it and it provides about 800W from 14V source.
It has PTC characteristic so it is self regulated. If you lack the air flow its temperature will raise and with it the resistance.
This means less amp flow and less power untill you provide enough air flow.
It has three power lines each worth about 25A. I tested it on my battery with power supply that controlled voltage drop to 13.6Vdc.
1st line is 25A = 350W
+
2nd line 42A = 600W
+
3rd line 56A = 800W
Strangely each element by itself consumes 25A, but if i connect two of them i only get 42A max and if i use three i get 56A.
Effective dimensions are about 150mm x 200mm x 15mm. That is the "meat" that is fixed into slot, but there is some 30mm overhang and cables that are outside slot.
My intention is to make a slot in front of the liquid heater to fit this so it will be in the airflow.
Then i will use 3x 30A relays and some switches to run it from inside cabin. Only when car will be running however!
- Cookie6000
- Posts: 247
- Joined: Wed May 08, 2019 9:27 am
- Location: Wicklow, IRL
- Has thanked: 12 times
- Been thanked: 33 times
- Contact:
Re: EV car conversion hardware
Great thread this. Thanks for all the info!
Can I ask if the 5Kw heater from the Gen 1 Leaf (27143-7269RET) is of any use for cabin heating into an existing heater matrix?
Can I ask if the 5Kw heater from the Gen 1 Leaf (27143-7269RET) is of any use for cabin heating into an existing heater matrix?
Home of the #Audi8e - https://twitter.com/FiachraCooke
-
arber333
- Posts: 3795
- Joined: Mon Dec 24, 2018 1:37 pm
- Location: Slovenia
- Has thanked: 166 times
- Been thanked: 411 times
- Contact:
Re: EV car conversion hardware
I am not sure. What kind of control is needed to run this at partial power? Is it 1kHz PWM or SW CAN?Cookie6000 wrote: ↑Sat Jan 04, 2020 5:04 pm Great thread this. Thanks for all the info!
Can I ask if the 5Kw heater from the Gen 1 Leaf (27143-7269RET) is of any use for cabin heating into an existing heater matrix?
Re: EV car conversion hardware
I have the same question with heater, because I already have it. What I know from manual in 2012 Leaf communication inside is PWM, but externally is going via LIN - what I think it's some serial communication, so I don't have idea what to do. Maybe someone else will help us.
It's Ebersprecher heater and I saw almost the same model but only with PWM inputs, so maybe is possible to go inside and connect directly to PWM?
It's Ebersprecher heater and I saw almost the same model but only with PWM inputs, so maybe is possible to go inside and connect directly to PWM?
- Cookie6000
- Posts: 247
- Joined: Wed May 08, 2019 9:27 am
- Location: Wicklow, IRL
- Has thanked: 12 times
- Been thanked: 33 times
- Contact:
Re: EV car conversion hardware
Found a bit of info at http://www.nissantechnicianinfo.mobi/ht ... ntrol.html
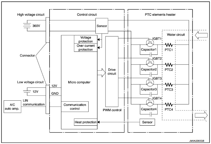
There is LIN bus comms from the A/C auto amplifier but it's PWM. It's not my area of expertise but, does this make any sense as to the control element and if this is a usable PTC?
The PTC heater provides an internal control circuit and performs LIN communication with A/C auto amplifier. Based on the signals from A/C auto amplifier, the microcomputer inside PTC heater controls the heater output by PWM. When current is applied, it heats up. Upon reaching a certain temperature (Curie temperature) the resistance suddenly increases, limiting the current, and maintaining a constant amount of heating.
We can move this to a separate thread if you wish arber333 so not to derail a great thread in itself for hardware as a whole.
Pics of the 3 wire connector
There is LIN bus comms from the A/C auto amplifier but it's PWM. It's not my area of expertise but, does this make any sense as to the control element and if this is a usable PTC?
The PTC heater provides an internal control circuit and performs LIN communication with A/C auto amplifier. Based on the signals from A/C auto amplifier, the microcomputer inside PTC heater controls the heater output by PWM. When current is applied, it heats up. Upon reaching a certain temperature (Curie temperature) the resistance suddenly increases, limiting the current, and maintaining a constant amount of heating.
We can move this to a separate thread if you wish arber333 so not to derail a great thread in itself for hardware as a whole.
Pics of the 3 wire connector
Home of the #Audi8e - https://twitter.com/FiachraCooke
- SciroccoEV
- Posts: 370
- Joined: Thu Oct 10, 2019 1:50 pm
- Location: Luton UK
- Been thanked: 16 times
- tom91
- Posts: 2962
- Joined: Fri Mar 01, 2019 9:15 pm
- Location: Bicester, Oxfordshire
- Has thanked: 328 times
- Been thanked: 847 times
Re: EV car conversion hardware
How did this last in the car? I would be slightly worried about vibrations ruining the ceramics, or have you found this not to be an issue?SciroccoEV wrote: ↑Mon Jan 06, 2020 10:14 pm Heater solution in my Scirocco about 20 years ago...
http://www.compton.vispa.com/scirocco/heater.htm
- SciroccoEV
- Posts: 370
- Joined: Thu Oct 10, 2019 1:50 pm
- Location: Luton UK
- Been thanked: 16 times
Re: EV car conversion hardware
Portable heaters often get dropped, kicked, damp, etc. Compared to that, this was the easy life, it's still working.tom91 wrote: ↑Mon Jan 06, 2020 10:54 pmHow did this last in the car? I would be slightly worried about vibrations ruining the ceramics, or have you found this not to be an issue?SciroccoEV wrote: ↑Mon Jan 06, 2020 10:14 pm Heater solution in my Scirocco about 20 years ago...
http://www.compton.vispa.com/scirocco/heater.htm
PTC cores are quite robust. Probably better than NiChrome.
-
arber333
- Posts: 3795
- Joined: Mon Dec 24, 2018 1:37 pm
- Location: Slovenia
- Has thanked: 166 times
- Been thanked: 411 times
- Contact:
Re: EV car conversion hardware
@cookie6000 Please make it a standalone thread of figuring out how it works. But report here when you have a solution for running it.
I think you should provide 12v and GND to it and 12v pwm. Try 1khz 50% duty first. It's how I got all of Ampera pumps and fans working.
I think you should provide 12v and GND to it and 12v pwm. Try 1khz 50% duty first. It's how I got all of Ampera pumps and fans working.
-
arber333
- Posts: 3795
- Joined: Mon Dec 24, 2018 1:37 pm
- Location: Slovenia
- Has thanked: 166 times
- Been thanked: 411 times
- Contact:
Re: EV car conversion hardware
There has been some questions about Volt/Ampera DCDC converter
I have successfully connected it to my HV battery and made about a 100A load at 14V for it to drive.
Details are in my blog. https://leafdriveblog.wordpress.com/201 ... dc-or-apu/
Basics are:
1. To start we have to first connect Enable(5) and Auxiliary(10) wires inside LV connector to 12V from a battery source. Beware! Negative pole of 12V battery has to be connected to the GND of the connector of the DCDC output so connector has the same reference as the output.
2. CAN H(3) and CAN L(2) connect to CAN network with 120R across to terminate it. CAN speed is 500kbps.
CAN ID is 01 D4. Msg is A0 B2 in 50ms period
A0 is signal to start, to turn it off send 00 instead A0
B2 means 14Vdc output and likewise AF means 13,8Vdc
If you remove CAN bus connection after first couople of bursts DCDC will default to 13.2Vdc output for as long as you keep ENABLE pin connected.
I have an idea here Johannes!
It could be enough for the inverter to spit out CAN msg couple of times, verify 12V power is on and then stop transmitting. DCDC would default to 13.2V and work for as long as enable is active. This can be connected to preignition contact.
I have successfully connected it to my HV battery and made about a 100A load at 14V for it to drive.
Details are in my blog. https://leafdriveblog.wordpress.com/201 ... dc-or-apu/
Basics are:
1. To start we have to first connect Enable(5) and Auxiliary(10) wires inside LV connector to 12V from a battery source. Beware! Negative pole of 12V battery has to be connected to the GND of the connector of the DCDC output so connector has the same reference as the output.
2. CAN H(3) and CAN L(2) connect to CAN network with 120R across to terminate it. CAN speed is 500kbps.
CAN ID is 01 D4. Msg is A0 B2 in 50ms period
A0 is signal to start, to turn it off send 00 instead A0
B2 means 14Vdc output and likewise AF means 13,8Vdc
If you remove CAN bus connection after first couople of bursts DCDC will default to 13.2Vdc output for as long as you keep ENABLE pin connected.
I have an idea here Johannes!
It could be enough for the inverter to spit out CAN msg couple of times, verify 12V power is on and then stop transmitting. DCDC would default to 13.2V and work for as long as enable is active. This can be connected to preignition contact.
- Cookie6000
- Posts: 247
- Joined: Wed May 08, 2019 9:27 am
- Location: Wicklow, IRL
- Has thanked: 12 times
- Been thanked: 33 times
- Contact:
Re: Main contactor
Prices vary wildly for the EV200HAANA on eBay from between the $40 ones from Isreal in the link above to the Mouser/Farnell items for €160 to a couple more on eBay for €300!. Is it just worth the peace of mind buying new from the suppliers or are they that robust, used ones are good for 380v from a Leaf pack?arber333 wrote: ↑Thu Oct 31, 2019 12:41 pm I consider this each DIY preference.
Mine is Tyco Kilovac contactor EV200HAANA.
It is capable of braking 900Vdc at 500A! Inside it is nitrogen (inert gas) filled so arc doesnt form and contacts are silver coated.
https://www.ebay.co.uk/itm/Kilovac-Szon ... SwTghbyFH0
Home of the #Audi8e - https://twitter.com/FiachraCooke
-
arber333
- Posts: 3795
- Joined: Mon Dec 24, 2018 1:37 pm
- Location: Slovenia
- Has thanked: 166 times
- Been thanked: 411 times
- Contact:
Re: Main contactor
Well i have bought 3 EV200 from israel. They are used for military equipmment power supply etc...Cookie6000 wrote: ↑Thu Jan 30, 2020 4:26 pm
Prices vary wildly for the EV200HAANA on eBay from between the $40 ones from Isreal in the link above to the Mouser/Farnell items for €160 to a couple more on eBay for €300!. Is it just worth the peace of mind buying new from the suppliers or are they that robust, used ones are good for 380v from a Leaf pack?
Until now i hadnt had problems with them. No contacts sticking no misfires.
Well here is a strange thing. They dont like to be triggered by transistors. Probably because of economiser circuit. It just starts to chatter. I use ULN2003 transistors to trigger small relay first and then pass 12V through to EV200.
- SciroccoEV
- Posts: 370
- Joined: Thu Oct 10, 2019 1:50 pm
- Location: Luton UK
- Been thanked: 16 times
- Cookie6000
- Posts: 247
- Joined: Wed May 08, 2019 9:27 am
- Location: Wicklow, IRL
- Has thanked: 12 times
- Been thanked: 33 times
- Contact:
Re: EV car conversion hardware
Thanks lads
After a good search around, I ended up back on eBay and plumped for the link arber333 posted and picked up two. Shipping to IRL wasn't extortionate either. Found some good 400A 500vac fuses and precharge resistors up there too to polish off the nights shopping
After a good search around, I ended up back on eBay and plumped for the link arber333 posted and picked up two. Shipping to IRL wasn't extortionate either. Found some good 400A 500vac fuses and precharge resistors up there too to polish off the nights shopping
Home of the #Audi8e - https://twitter.com/FiachraCooke
Re: Nissan Leaf Powered E46 Touring
Hi,
It's almost the same heater. What I see on the Damien's floor - it's heater from Volt/Ampera. In link is also Eberspacher, but from Leaf. Looks the same, but interface is different. Volt takes sufficent PWM signals but Leaf heater needs something to receive via LIN. To be honest I hope that someone in future will solve controlling heater from Leaf, because I have also this one, but I'm not able to do somethig with this
I have somewhere on another PC pdf with descripted PWM's to control Volt heater, which unfortunately I don't have.
Edit: like is written in next post from xp677 and Arber probably I'm wrong sorry for my mistake and make noise.
For my justification info where I found info about heaters:
https://www.diyelectriccar.com/forums/s ... 87931.html
I did to fast mental shortcut and this is result. So now I know, that are almost 3 versions:
1. Leaf heater with LIN interface
2. Ampera/Volt with CAN
3. Native Titronic with PWM
It's almost the same heater. What I see on the Damien's floor - it's heater from Volt/Ampera. In link is also Eberspacher, but from Leaf. Looks the same, but interface is different. Volt takes sufficent PWM signals but Leaf heater needs something to receive via LIN. To be honest I hope that someone in future will solve controlling heater from Leaf, because I have also this one, but I'm not able to do somethig with this
I have somewhere on another PC pdf with descripted PWM's to control Volt heater, which unfortunately I don't have.
Edit: like is written in next post from xp677 and Arber probably I'm wrong sorry for my mistake and make noise.
For my justification info where I found info about heaters:
https://www.diyelectriccar.com/forums/s ... 87931.html
I did to fast mental shortcut and this is result. So now I know, that are almost 3 versions:
1. Leaf heater with LIN interface
2. Ampera/Volt with CAN
3. Native Titronic with PWM
-
xp677
- Posts: 442
- Joined: Sat Jul 27, 2019 10:53 am
- Location: UK
- Has thanked: 1 time
- Been thanked: 15 times
Re: Nissan Leaf Powered E46 Touring
As far as I'm aware, the Volt heater runs on single-wire CAN ("GMLAN"). The code I have (untested) is below:
The temp_heater variable is the heater temperature in C, using the thermistor inside the heater unit. I don't know the conversion for this thermistor.
The circuit used is below:

All untested.
The heater 3-pin connector is as below:
TAB
1 2 3
1 = GND
2 = SWCAN
3 = 12V
Again, untested.
I don't know which orange wire is + and which is -, this is a problem for me as I don't have a connector on the end of my wires, so can't look it up!

If someone is able to tell me which wire is which, that would be great. Mine do not have red/black bands on them.
If the power section is anything like the Leaf heater linked above, then polarity will matter.
Code: Select all
/*
EberspaecherHeater.c
The heater communicates using J1939 protocol. It has to be "woken up" one time with a 0x100 message and then
must see a "keep alive" to stay active, which is the 0x621 message. The message repetition rate is between
25 and 100ms intervals.
The Eberspacher CAN version will work when used with a 33.33Kb SWCAN. The data below is the minimum required
to turn on the heater. It will operate at approximately 33% of full power. To command higher power, increase
the value of message 0x1072099 byte 1 (it begins with byte 0) which is 3E below.
Full power is applied when 85 is used as the value for byte 1. The power will vary based upon inlet
temperature as the PTC elements increase the resistance with higher temperature.
ID, Ext, LEN,D0,D1,D2,D3,D4,D5,D6,D7
0x100, False, 0, 00,00,00,00,00,00,00,00
0x621, False, 8, 00,40,00,00,00,00,00,00 - keep alive
0x13FFE060, True, 0, 00,00,00,00,00,00,00,00 - cmd1
0x10720099, True, 5, 02,3E,00,00,00,00,00,00 - control
0x102CC040, True, 8, 01,01,CF,0F,00,51,46,60 - cmd2
0x10242040, True, 1, 00,00,00,00,00,00,00,00 - cmd3
0x102740CB, True, 3, 2D,00,00,00,00,00,00,00 - cmd4
0x102740CB, True, 3, 19,00,00,00,00,00,00,00 - cmd5
*/
// CAN bus id's for frames sent to the heater
#define HCAN_WAKEUP 0x100 // wake up the device
#define HCAN_KEEP_ALIVE 0x621 // keep alive message
#define HCAN_CONTROL 0x10720099 // send power control message
#define HCAN_CMD1 0x13FFE060 // dummy message
#define HCAN_CMD2 0x102CC040 // dummy message
#define HCAN_CMD3 0x10242040 // dummy message
#define HCAN_CMD4 0x102740CB // dummy message
#define HCAN_CMD5 0x102740CB // dummy message
// CAN bus id's for frames received from the heater
//TODO: define correct can ID's, mask and masked id's
#define HCAN_STATUS 0x13FFE09D // receive status message 10011111111111110000010011101
#define CAN_MASK 0x0 // mask for above id's 00000000000
#define CAN_MASKED_ID 0x0 // masked id for id's from 0x258 to 0x268 00000000000
#define MAX_POWER_WATT 6000
bool heater_running = 0;
bool heater_request = 0;
uint16_t heater_power_request = 0; // value from 0 to 6000 watt
// uint8_t temp_heater; // in degree C
uint16_t heater_maxpower = 4000;
uint8_t heater_setpoint = 70;
uint8_t heater_derating_point = 55;
CAN_FRAME hcan_wakeup; // frame to send wake-up message
CAN_FRAME hcan_control; // frame to send control messages
CAN_FRAME hcan_keepalive; // frame to send heart beat
CAN_FRAME hcan_cmd1; // frame to send cmd1 message
CAN_FRAME hcan_cmd2; // frame to send cmd2 message
CAN_FRAME hcan_cmd3; // frame to send cmd3 message
CAN_FRAME hcan_cmd4; // frame to send cmd4 message
CAN_FRAME hcan_cmd5; // frame to send cmd5 message
CAN_FRAME hcan_incoming; // the frame sent to GEVCU containing status information
//if (status.analogIn[0] != 0) temp_heater = map(constrain(status.analogIn[0], 0, 2100), 0, 2100, 0, 100);
void setup_heater()
{
if (Can1.init(CAN_BPS_33333))
{
Serial.println("Heater CAN initialization completed.\n"); // Initialize CAN1 - Heater CAN
Can1.setNumTXBoxes(3);
}
else Serial.println("Heater CAN initialization (sync) ERROR\n");
for (int i = 0; i < 3; i++)
{
Can1.setRXFilter(i, 0, 0, true);
}
for (int i = 3; i < 7; i++)
{
Can1.setRXFilter(i, 0, 0, false);
}
// switch to normal mode on SW-CAN
digitalWrite(pin_swcan_mode, 1);
// 0x621, False, 8, 00,40,00,00,00,00,00,00 - keep alive
hcan_keepalive.length = 8;
hcan_keepalive.id = HCAN_KEEP_ALIVE;
hcan_keepalive.extended = 0;
hcan_keepalive.rtr = 0;
hcan_keepalive.data.byte[1] = 0x40;
// 0x13FFE060, True, 0, 00,00,00,00,00,00,00,00 - cmd1
hcan_cmd1.length = 8;
hcan_cmd1.id = HCAN_CMD1;
hcan_cmd1.extended = 1;
hcan_cmd1.rtr = 0;
// 0x102CC040, True, 8, 01,01,CF,0F,00,51,46,60 - cmd2
hcan_cmd2.length = 8;
hcan_cmd2.id = HCAN_CMD2;
hcan_cmd2.extended = 1;
hcan_cmd2.rtr = 0;
hcan_cmd2.data.byte[0] = 0x01;
hcan_cmd2.data.byte[1] = 0x01;
hcan_cmd2.data.byte[2] = 0xCF;
hcan_cmd2.data.byte[3] = 0x0F;
hcan_cmd2.data.byte[4] = 0x00;
hcan_cmd2.data.byte[5] = 0x51;
hcan_cmd2.data.byte[6] = 0x46;
hcan_cmd2.data.byte[7] = 0x60;
// 0x10242040, True, 1, 00,00,00,00,00,00,00,00 - cmd3
hcan_cmd3.length = 1;
hcan_cmd3.id = HCAN_CMD3;
hcan_cmd3.extended = 1;
hcan_cmd3.rtr = 0;
// 0x102740CB, True, 3, 2D,00,00,00,00,00,00,00 - cmd4
hcan_cmd4.length = 3;
hcan_cmd4.id = HCAN_CMD4;
hcan_cmd4.extended = 1;
hcan_cmd4.rtr = 0;
hcan_cmd4.data.value = 0;
hcan_cmd4.data.byte[0] = 0x2d;
// 0x102740CB, True, 3, 19,00,00,00,00,00,00,00 - cmd5
hcan_cmd5.length = 3;
hcan_cmd5.id = HCAN_CMD5;
hcan_cmd5.extended = 1;
hcan_cmd5.rtr = 0;
hcan_cmd5.data.value = 0;
hcan_cmd5.data.byte[0] = 0x19;
// 0x10720099, True, 5, 02,3E,00,00,00,00,00,00 - control
hcan_control.length = 5;
hcan_control.id = HCAN_CONTROL;
hcan_control.extended = 1;
hcan_control.rtr = 0;
}
void heater_cansend()
{
// map requested power (percentage) to valid range of heater (0 - 0x85)
hcan_control.data.byte[1] = map(constrain(heater_power_request, 0, MAX_POWER_WATT), 0, MAX_POWER_WATT, 0, 0x85);
Can1.sendFrame(hcan_keepalive);
Can1.sendFrame(hcan_cmd1);
Can1.sendFrame(hcan_control);
Can1.sendFrame(hcan_cmd2);
Can1.sendFrame(hcan_cmd3);
Can1.sendFrame(hcan_cmd4);
Can1.sendFrame(hcan_cmd5);
}
void run_heater() //do this every 60ms
{
heater_power_request = 0;
if (heater_request)
{
if (!heater_running)
{
//Wake up all SW-CAN devices by switching the transceiver to HV mode and sending the command 0x100 and switching the HV mode off again.
Serial.print("sending wake-up signal to heater");
digitalWrite(pin_swcan_mode, 0); // set HV mode
// 0x100, False, 0, 00,00,00,00,00,00,00,00
hcan_wakeup.length = 0;
hcan_wakeup.id = HCAN_WAKEUP;
hcan_wakeup.extended = 0;
hcan_wakeup.rtr = 0;
Can1.sendFrame(hcan_wakeup);
delay(5);
digitalWrite(pin_swcan_mode, 1); // set normal mode
heater_running = 1;
}
else
{
//Calculate the desired output power based on measured temperature.
if (heater_request && heater_running && (temp_heater <= heater_setpoint) && 0 /*pump q is running*/) //0 to force me to make sure pump q is programmed
{
// if below derating temperature, apply maximum power
if (temp_heater < heater_derating_point)heater_power_request = heater_maxpower;
// if between derating temp and target temp calculate derating of maximum power
else heater_power_request = map(temp_heater, heater_setpoint, heater_derating_point, 0, heater_maxpower);
}
heater_cansend();
}
}
else
{
heater_power_request = 0;
heater_cansend();
heater_running = 0;
}
}
The circuit used is below:

All untested.
The heater 3-pin connector is as below:
TAB
1 2 3
1 = GND
2 = SWCAN
3 = 12V
Again, untested.
I don't know which orange wire is + and which is -, this is a problem for me as I don't have a connector on the end of my wires, so can't look it up!

If someone is able to tell me which wire is which, that would be great. Mine do not have red/black bands on them.
If the power section is anything like the Leaf heater linked above, then polarity will matter.
-
arber333
- Posts: 3795
- Joined: Mon Dec 24, 2018 1:37 pm
- Location: Slovenia
- Has thanked: 166 times
- Been thanked: 411 times
- Contact:
Re: Nissan Leaf Powered E46 Touring
I can help you with that. I managed to heat up the heater more by accident and i suspect i damaged it because it didnt had any coolant inside.xp677 wrote: ↑Sat Feb 01, 2020 12:14 pm I don't know which orange wire is + and which is -, this is a problem for me as I don't have a connector on the end of my wires, so can't look it up!
If someone is able to tell me which wire is which, that would be great. Mine do not have red/black bands on them.
If the power section is anything like the Leaf heater linked above, then polarity will matter.
But i did managed to get the polarity by using wires and connectors from chrashed Ampera car. I checked against Ampera inverter and confirmed:
1. The contact on the connector side with the extrusion is NEGATIVE battery.
2. The contact on the flat side of the connector is the POSITIVE battery.
It is the same orientation on Ampera AC compressor and of course the same connector.
I hope it helped you, thank you for the code. What do you use for controller?
EDIT: Crap! I just saw you do not have a connector on the heater. That sucks.
Well i took off the orange wrapping from the cable and the orange cable closest to the black control cable is POSITIVE!
-
xp677
- Posts: 442
- Joined: Sat Jul 27, 2019 10:53 am
- Location: UK
- Has thanked: 1 time
- Been thanked: 15 times
Re: EV car conversion hardware
That's great, thank you for doing that, especially because you had to cut the orange sleeving. 
My heater did come with a connector, but it was broken quite badly, only the back part was left, so I cut it off. I didn't think to check the polarity first!
For the controller I am using an Arduino Due, with the schematic in my post above. The schematic just needs CAN Rx and Tx (if you don't have a board with CAN, the MCP2515 should work fine), and a single digital input to set the transmission mode (I'm not exactly sure what this does, looking at the code, it seems to be related to waking up the SWCAN devices.
My heater did come with a connector, but it was broken quite badly, only the back part was left, so I cut it off. I didn't think to check the polarity first!
For the controller I am using an Arduino Due, with the schematic in my post above. The schematic just needs CAN Rx and Tx (if you don't have a board with CAN, the MCP2515 should work fine), and a single digital input to set the transmission mode (I'm not exactly sure what this does, looking at the code, it seems to be related to waking up the SWCAN devices.
-
xp677
- Posts: 442
- Joined: Sat Jul 27, 2019 10:53 am
- Location: UK
- Has thanked: 1 time
- Been thanked: 15 times
Re: EV car conversion hardware
Quick contactor chat:
My conversion use sa 640v pack, with peak current of 350A. My plan for contactors was to use the three-way Omron units from the Outlander PHEV (sorry, don't have the part number to hand). These are 100A, 400V rated, and I was going to wire in them in parallel. Bad idea.
I'll likely go for the EV200 contactors instead. This leaves me without an option for a precharge contactor. I could get another EV200, but is there a better option? An EV200 seems like overkill.
My conversion use sa 640v pack, with peak current of 350A. My plan for contactors was to use the three-way Omron units from the Outlander PHEV (sorry, don't have the part number to hand). These are 100A, 400V rated, and I was going to wire in them in parallel. Bad idea.
I'll likely go for the EV200 contactors instead. This leaves me without an option for a precharge contactor. I could get another EV200, but is there a better option? An EV200 seems like overkill.
- mackoffgrid
- Posts: 94
- Joined: Thu Jan 02, 2020 10:18 am
- Location: Brisbane Australia
- Has thanked: 6 times
- Been thanked: 1 time
Re: EV car conversion hardware
For Pre-charge
I am going to test using a combination of IGBT to turn on and turn off and use multiple low cost relay contacts (240Vac) in series to provide isolation. (controlled by micro which would have other functions) At 640 volts I'd want 3 contacts in series.
I am going to test using a combination of IGBT to turn on and turn off and use multiple low cost relay contacts (240Vac) in series to provide isolation. (controlled by micro which would have other functions) At 640 volts I'd want 3 contacts in series.